《萬代最新變態專利》可以追蹤視線的眼睛 將來美少女模型或許都會盯著你看了?

圖片來自:https://animestore.docomo.ne.jp/animestore/ci_pc?workId=20284&partId=20284012
自古以來,不論是繪畫或是雕刻作品,創作者總會特別用心將人物的眼睛刻畫得炯炯有神,可見眼睛有多麼的重要。而日本玩具廠商萬代(BANDAI)最近似乎就悄悄在模型眼睛的製作上做出了重大突破!日本網友們發現,萬代申請了一種具備多色成形,又可以追蹤視線的眼睛零件製造方式的專利。這種追蹤視線的眼睛雖然在球體關節人形已經運用多年,不過要是將來可以運用在射出成形的量產塑膠模型上,那真的會掀起重大革命啊!以下就跟著宅宅新聞一起來看看這項專利吧~~
原汁原味的內容在這裡
日本最近公布的一項專利登記,編號2022176306

圖片來自:https://www.j-platpat.inpit.go.jp/p0200
上面這項專利登記是由本玩具廠商萬代(BANDAI)提出,最近被日本網友發現以後,引發了熱烈反響!
關於專利的內容是這麼寫的……
「此項發明是為了讓人偶的眼睛零件能夠實現自然且廣角的視線追蹤,或是類似機能的製造方式。」

圖片來自:https://www.j-platpat.inpit.go.jp/p0200
簡單來說,萬代設計出了一種可以讓人物模型的視線彷彿一直盯著人看的技術。文中還有概略解釋究竟該如何實現這個目標,並且附上幾張說明圖片……
專利構造的眼睛瞳孔剖面圖

圖片來自:https://www.j-platpat.inpit.go.jp/p0200
專利構造的臉部零件圖

圖片來自:https://www.j-platpat.inpit.go.jp/p0200
專利構造的眼睛零件分解圖

圖片來自:https://www.j-platpat.inpit.go.jp/p0200
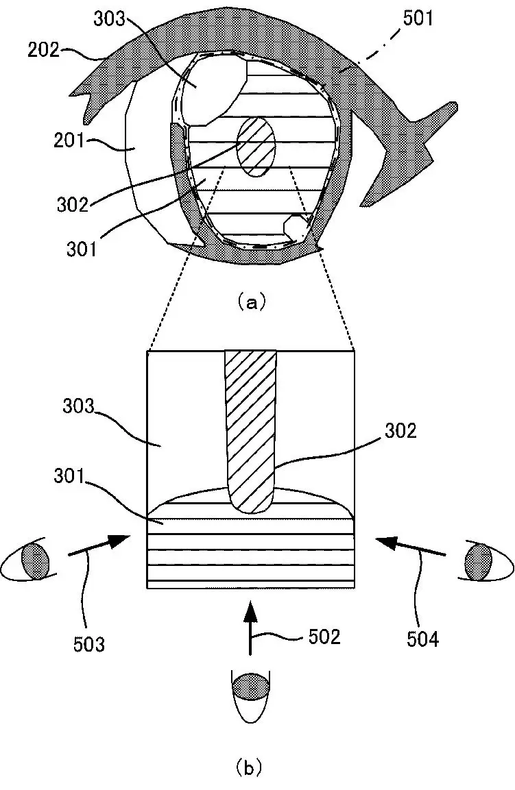
專利構造的臉部剖面圖

圖片來自:https://www.j-platpat.inpit.go.jp/p0200
專利構造的瞳孔構造層次圖

圖片來自:https://www.j-platpat.inpit.go.jp/p0200
其實這種追蹤視線的眼睛在球體關節人形的世界已經被廣泛運用,問題在於球體關節人形的製造成本不是量產塑膠模型可以比的。如果將來連相對便宜的塑膠模型都可以配備追蹤視線的眼睛,那就真的太棒了啊~~
球體關節人形的世界下了許多心血研究追蹤視線的眼睛

圖片來自:http://blog.livedoor.jp/insight_ape/archives/34344032.html
雖說萬代目前只是申請專利登記,連個實際的試作品都還沒有公布,不過日本網友們已經興奮到不行了!
「視線追蹤!?!?!?」

圖片來自:https://twitter.com/YasashiNingen/status/1596658769026772992
「萬代又想幹什麼了!」

圖片來自:https://twitter.com/tamaki_03/status/1596854098699358208
「萬代申請變態技術的專利了。」

圖片來自:https://twitter.com/fumoffu375/status/1596857734594723841
「太厲害了,竟然實現可以視線追蹤的多色成形了……」

圖片來自:https://twitter.com/re_orleans/status/1596725228302131200
「以前看過類似的技術又進化了啊,果然是變態企業(稱讚)」

圖片來自:https://twitter.com/4_allows/status/1596832865341562881
「原本想說這有什麼用?不過仔細想想,將來帶著模型出門拍照會變得很方便,因為不需要帶著一大堆眼睛零件了,這樣超棒啊。」

圖片來自:https://twitter.com/Weisskaiser/status/1596837006478565377
(^∀^)好期待這種技術可以被廣泛運用呢~~
部分資料來自網路 ( @ptent365atogetter特許情報プラットフォーム )
                                            
                                            0 則回應
                                            順序: 新│舊
                                        
                                        
                                    
			







							
							
							
							
                                                






















                        
                        
                        
                        
                        
                        












