《拯救世界的SONY專利》逼人玩遊戲才能解除的奇葩廣告 沒有SONY的世界會變成什麼樣?

圖片來自:https://patents.google.com/patent/US8246454B2/en
在現代人的生活當中,廣告這種東西幾乎是無所不在。而當社群網路蓬勃發展之後,廣告甚至已經演變到有時候不想看還不行,使用者必須強制點擊廣告,或是等待廣告播放經過一定的時間,才能夠繼續使用某項服務。最近X網友們就討論起了,世界上原本可能會充斥著更多更誇張、更讓人煩躁的廣告模式,但是多虧日本SONY公司手中的一項專利,才阻止了廣告繼續惡化!?以下就跟著宅宅新聞一起來看看,網友們是基於什麼理由這樣說的吧~~
原汁原味的內容在這裡「SONY手中握有一個自2009年來註冊的專利,但是從來沒有用過它。」

圖片來自:https://x.com/OrwellNGoode/status/1864068368535273627
上面這張迷因哏圖,最近在X上引爆了超過20萬人按讚的熱烈反響!
根據這張圖中顯示,日本SONY公司宛如一個水壩,替社會擋住了一股可怕的洪流。而SONY公司手中的武器,就是一個2009年在美國登記的一項專利……
專利US8246454B2:將電視廣告轉換為互動式網路視訊遊戲系統

圖片來自:https://patents.google.com/patent/US8246454B2/en
這項握在SONY公司手中的專利內容,簡單來說就是讓「廣告」跟「電玩遊戲」的概念融合在一起的互動式廣告。
以電視節目為例,當電視推播這種新型態廣告的時候,觀眾就必須藉由操作遙控器、手舞足蹈或是聲控等方式,達成廣告提示的某項任務,才能夠跳過廣告或是加速廣告。
以下是專利文件中的一些互動式廣告示意圖……
變成賽車遊戲的互動式廣告

圖片來自:https://patents.google.com/patent/US8246454B2/en
必須操作將酸黃瓜放置到漢堡裡面,才能夠加速的速食店廣告

圖片來自:https://patents.google.com/patent/US8246454B2/en
最讓網友們覺得誇張的互動式廣告模式,則是下面這一種……
當你在看電視節目的時候……

圖片來自:https://patents.google.com/patent/US8246454B2/en
電視突然轉成漢堡的圖案,並且提示「請喊出『麥當勞』結束廣告」

圖片來自:https://patents.google.com/patent/US8246454B2/en
接著你就得大聲喊出:「麥當勞!」

圖片來自:https://patents.google.com/patent/US8246454B2/en
然後才能繼續觀賞節目

圖片來自:https://patents.google.com/patent/US8246454B2/en
SONY手中持有的這一項專利被網友們挖出來之後,許多人就紛紛大讚SONY先把這些互動式廣告給註冊走,否則現在世界上可能就會充斥著各種厭煩的互動式廣告了啊!
以下是更多收錄於SONY專利文件中的「互動式廣告」示意圖……
融合射擊遊戲的廣告

圖片來自:https://patents.google.com/patent/US8246454B2/en
可以直接選擇要不要訂披薩的廣告

圖片來自:https://patents.google.com/patent/US8246454B2/en
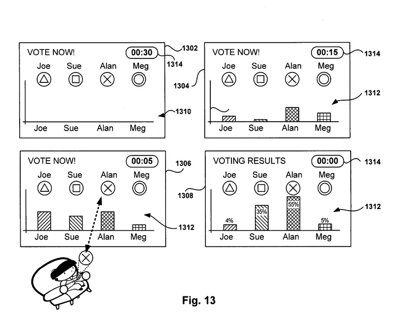
可以讓觀眾投票並且即時顯示投票結果的廣告

圖片來自:https://patents.google.com/patent/US8246454B2/en
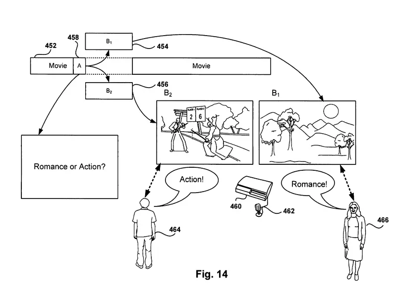
可以讓觀眾自由選擇播映相同長度,但是類型不同廣告

圖片來自:https://patents.google.com/patent/US8246454B2/en
Σ(⊙д⊙)如果廣告商都這樣玩,會不會人人都朝著電視或手機大吼大叫啊!?













































